Almost all of us have at one time or another had a crazy idea for a new product. Forbes.com has compiled a list for the 15 Kookiest Inventions:
“Even in a lackluster economy, patent lawyers keep busy. Between 1996 and 2008, the annual number of patent filings jumped 130%, to 485,000. But what some consider innovation others might call a boondoggle. We trolled the U.S. Patent and Trademark Office for some of the kookiest intellectual property on the books. You decide.”
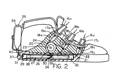
Pneumatic Shoe Lacing Apparatus
Patent No. 5,205,055
Remember those Nike shoes that Michael J. Fox sports in Back to the Future II–the ones that, with a touch of a button on the shoe tongue, tightened up to a perfect fit, no messy lace tying or hopelessly un-hip Velcro? Aaron D. Harrell figured he’d make those a reality, if a tortuously complicated one: These high-tops require a gas canister on the back of the shoe to power a pneumatic piston in the shoe’s sole. The piston turns a crank on the side of the shoe that draws close the straps across the top–no laces needed. Great Scott, Marty, that’s ridiculous!
Cheese Filter Cigarette
Patent 3,234,948
Millions of people across the world like to smoke. Many also enjoy cheese. Why not combine the two in a cigarette filter made of cheese? That way, you can relax and nibble at the same time–with no toxins left behind! So efficient was this ventricular assault that Stuart Stebbings of De Pere, Wis., patented the idea in 1964.
Check out all 15 kooky inventions at Forbes.com. Think you have a great idea for a new hot product? Send in your ideas/ suggestions to amber@catalystranch.com . We will then feature your ideas in a blog.


